NJBA April 13th, 2002 Meet or
A Day With Jonathan Nedbor
The April 13th Meet was held at
Tim Miller's shop in Bayport, Long Island
Report by Larry Brown

The day started with Tim Suter showing off his combination treadle and air power hammer, which can be used efficiently either way. Once again Tim has done a fine job of design and fabrication. Everything I could think of was covered from the adjustable heights for the head to the tooling and holders.

Coal Rake
Tims' Hammer
Jonathans’ Demonstration:
Jonathan Nedbor was the featured demonstrator for the meet. This was the first time we have had a paid demonstrator and it was a valuable learning experience for all that attended. Jonathan started demo by making a coal rake from a stock blank he had brought with him. The rake blank was cut out of 12 or 14 ga. stock. The wider section is roller to create the handle and the other end is curved to become the rake section for tending the fire. Then to continue the warm up part of the demo he showed how he rolled and coiled stock around it's self to form a large end for a coat rack hook.
Coat Rack Hook End

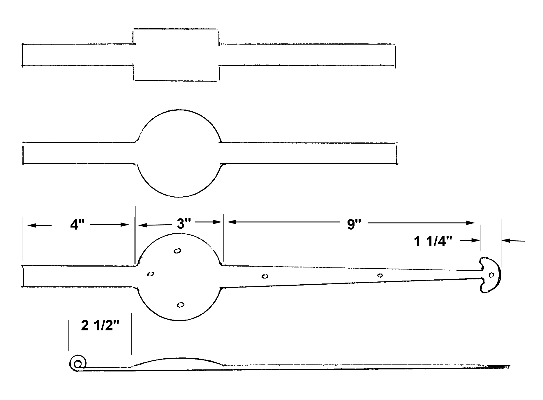
The main part of the demo was on Dutch hardware from the French Hugenots who lived in the area around New Paltz, NY. Jonathan forged a pintle and what is called a pancake or pad hinge. The size he made would have been used on a shutter. For the demonstration Jonathan used Pure Iron.

The pintle is made by first forging the pin section a little longer than the size of the hinge eye and the pintle stock. The top end is rounded and the bottom is slightly over sized so that after welding it will be the same as the top. The stock for the pintle is then tapered on the end and then fullered a little of the way in. A drift is placed over the top of the vise and the stock is wrapped around it. The drift is then driven out and the pin is placed in it and welded being careful not to work the stock down too much. use a bolster block to refine the shoulder area and draw out the stock to around a 4" taper

Pintle
Hinge Layout

Next Jonathan marks out the flat stock that becomes the hinge and dimples the edges. The stock is laid out for two hinges at once with the finial ends in the center.First the dimple areas are fullered in using a Smithing Magician tool and then the hinge eye sections are drawn out. After the ends are drawn out the stock is then cut in half. This gives an area that is easier to hold while working the other sections. For the demo Jonathan used a power hammer but is may also be done by hand. The finial section is then roughed part way out and then work is started on the pancake section. A radiused fuller is used to draw the edges out without
working the edges and the center too much to keep them from getting thinned out. The finial section is then upset a little on the end. The edges of the finial are drawn out first and then the center keeping just the finial section over the anvil and rotating it slightly to help draw it out. The eye is then rolled around a drift and the holes are punched. The last step is to slightly curve the pancake section and then flatten the edges of the pancake on the anvil. The nails were made from 1/4" round and headed in a nail header. Jonathan said clinch nails should be 1/2" longer than the wood thickness
Poker End

The next project was a poker end demonstrating an interesting forge weld. The end is made by folding one piece of stock back on itself and scarfing the end. The other piece is upset and scarfed and then welded to the first piece. Excess stock was then cut off and the ends forged to shape. This is stronger than looping the stock and welding as it gives more material and the weld is in a different plane to the stresses.

Tip from the demo:
Bursting sparks in the forge flame help indicate welding temperature. Hit lightly when welding and untill weld is complete, then work hot untill work is defined. Layers of different color paint give a layered effect. Try "Hammerite Paint" for an interested effect on tools, etc. Clean work in white vinegar with a little salt added, soak untill clean then wash in hot water and dry quickly. Jonathan used a blunt cut off hardy which worked very well. Many thanks to Tim, from all, for his efforts in hosting this event.


Tim Millers shop

Johnathan Nedbor

Opening Questions and Chat

Forming handle for fire rake

Finished rake

Coiled end ready
to be welded

Welded end

Finished end

Old Dutch hinge

Fitting pintle pin

Pintle with pin fitted

Welded pintle

Starting to forge hinge
by fullering

Forging the hinge

Old and new hinge

Forging the hinge

Forge weld for poker

Finishing forge weld on poker

Home